
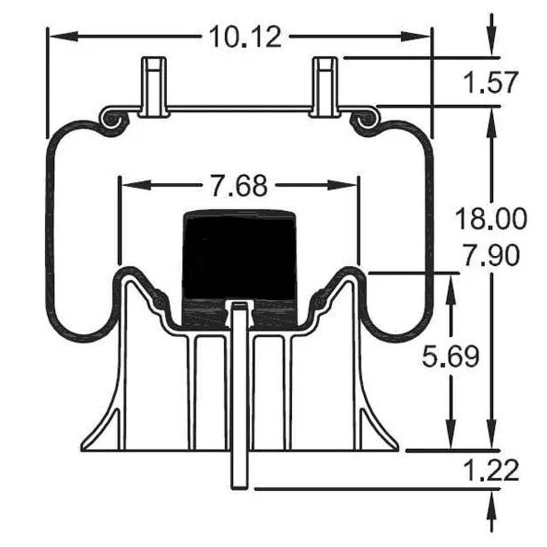
PULMON DE SUSPENSION 1T15M-4 1R12-1179 SPRINGRIDE
$128.008$108.990
IVA INCLUIDO6 cuotas de $18.165 Sin Interés
Stock Internet: Sin stock disponible
Marca:SPRINGRIDE

$128.008$108.990
IVA INCLUIDO6 cuotas de $18.165 Sin Interés





Stock Internet: Sin stock disponible